
IT之家 4 月 8 日消息,科技媒体 Appleinsider 昨日(4 月 7 日)发布博文,挖掘发现苹果最新获批的专利,揭示未来 Apple Vision Pro 头显有望采用模块化设计。
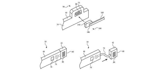
该专利名称为《可连接配件的头戴式设备》,共有 28 页,核心设计理念是将头显转化为可扩展的平台,主机无需集成所有永久性功能组件,用户可通过连接配件按需扩展功能。

该设计直接回应了用户对设备重量与续航平衡的诉求。专利描述用户可自主选择牺牲部分电池容量以减轻设备重量,或为户外使用更换大容量电池,甚至可更换低分辨率显示屏来延长续航时间。

模块化架构还为专业领域应用打开了想象空间。IT之家援引博文介绍,专利指出,高带宽连接接口可支持制造商开发医疗、眼科及工业制造领域的专用传感器或高级摄像头。
在商业模式上,该方案类似“按需组装”或配件销售。虽然目前苹果尚未建立类似“Made for iPhone”的 Vision Pro 配件认证计划,但若开放硬件生态专业个人配资门户,将大幅提升设备的市场潜力。专利图纸显示,未来设备主体可能仅保留一个框架,通过机械咬合与数据通信接口连接各类模块。
华林优配提示:文章来自网络,不代表本站观点。